hga025怎么登录 _李亚鹏否认丽江项目失败,称开盘就是丽江销售第一,两年卖了70个亿
时间:2025-06-03 阅读:6252 评论:152
皇冠欧冠联赛


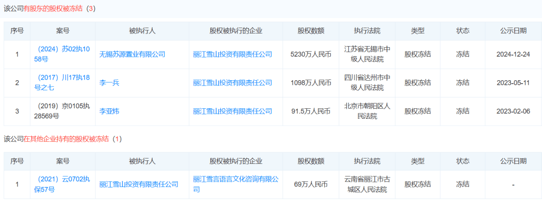
李亚鹏持股公司又遭强执hga025怎么登录 !
5月27日消息,天眼查显示,丽江雪山投资有限责任公司新增3条被执行人信息,被执行总金额约244万元,执行法院均为丽江市古城区人民法院hga025怎么登录 。

展开全文
丽江雪山投资有限责任公司成立于2008年11月,法定代表人为李国栋,注册资本约2.6亿人民币,由阳光壹佰置业集团有限公司、李亚鹏等共同持股,其中,李亚鹏持股约27.8%hga025怎么登录 。
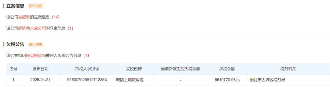
风险信息显示,上述公司已被限制高消费,并存在多条股权冻结信息,还曾因该拖欠税款而被列入欠税公告名单hga025怎么登录 。


李亚鹏目前担任两家企业的法定代表人,和6家公司的股东(一家已注销)hga025怎么登录 。

除丽江雪山投资有限责任公司外,李亚鹏还有多条股权冻结等周边风险信息hga025怎么登录 。李亚鹏已于2023年10月被北京市朝阳区人民法院限制高消费。

李亚鹏,毕业于中央戏剧学院表演系,男演员、商人hga025怎么登录 。其代表作品有《青春作证》《将爱情进行到底》《笑傲江湖》等影视作品。2014年,李亚鹏宣布退出娱乐圈。
每日经济新闻综合公开消息
每日经济新闻
猜你喜欢
- 2025-11-05牛津联 vs 斯托克城 _库里28+4巴特勒背伤退赛 布克38分勇士射落太阳
- 2025-11-05布拉格斯拉维亚 vs 阿森纳 _欧冠-麦卡利斯特一击致命 利物浦1-0送皇马赛季第2败
- 2025-11-05那不勒斯 vs 法兰克福 _没收并罚款!男子在通州大运河森林公园持无人机“黑飞”被罚
- 2025-11-05欧冠足球赛 _金灿荣:荷兰没有服软迹象,中国要打到完全胜利!
- 2025-11-04皇冠信用网登2代理 _吉林省委书记黄强会见新上任的福耀集团董事长曹晖
- 2025-11-04皇冠信用平台出租出售 _天津有小区暖气热了?供热部门回应!
- 2025-11-04皇冠信用网代理申请 _退休警察举报11年前事故肇事司机存疑:78岁老人车祸重伤后离世,当年鉴定疑未勘验实车
- 2025-11-03皇冠会员如何申请 _俄总理米舒斯京抵达中国,将与中方讨论深化人文领域合作等议题
- 2025-11-03NBA比赛 _这些公务员,不得批准辞去公职!
- 2025-11-02信用網皇冠申请注册 _刚见完中方领导人,特朗普宣布全球进入G2时代,俄欧日得坐另一桌
- 2025-11-02皇冠信用网怎么申请 _菲律宾坐滩舰官兵饿的受不了,抢劫中国渔船,菲军真的在准备打仗
- 2025-11-02皇冠信用网怎么申请 _上海一对婆媳因阻碍加梯,与五位邻居“大打出手”!



网友评论